Porsche's Disappearing Stripes Are a Mirror, Not a Feature
When your racing stripes can vanish on command, what exactly are you committing to?

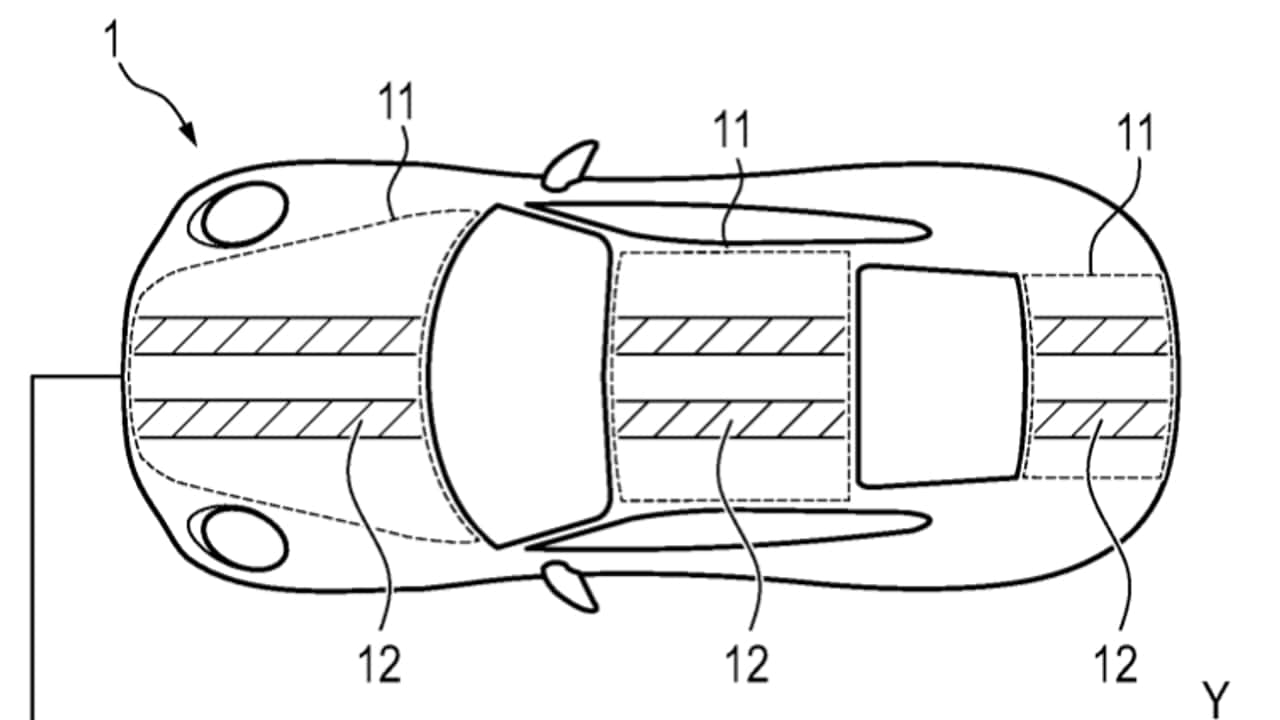
Photo · Motor1.com - Articles
There's a version of this that's genuinely clever. Stripes that shift with drive mode. A visual language baked into the skin of the car — Sport Plus reads one way, Comfort reads another. Porsche has filed a patent for exactly that: thermochromic or electrochromic livery elements that appear and disappear on demand, potentially synced to what the car is doing beneath you. Motor1 covered it straight. The tech is real. The application is plausible.
But the question the patent filing raises isn't engineering. It's philosophical.
What a Stripe Used to Mean
Racing stripes have always been a statement of intent. Gulf blue and orange. Martini white. The twin stripes down a GT350's hood. You put them on and you lived with them. They were visible to everyone, all the time, whether you were doing 140 on a track or sitting in traffic behind a minivan. That permanence was the point. It said something about who you were — or at least who you wanted to be — even when the car wasn't performing.
A stripe you can hide is a stripe you're not sure about.
That's not a criticism of the technology. It's an observation about what the technology reveals. The people most likely to use this feature are the people who want the aesthetic without the commitment. Who want to look like a track car in the right moment and disappear into the garage the rest of the time. Which is fine. That's a real customer. Porsche knows exactly who they're designing for.
The Smarter Read
Here's where I think the coverage undersells the idea: the drive-mode application is actually interesting on its own terms, separate from the personalization angle entirely.
If the stripes are tied to what the car is doing — if they're functional information rather than decoration — that's a different conversation. A Taycan that shows its charge state through its bodywork. A 911 that signals Sport Plus the way a fighter jet signals weapons-hot. That's not vanity. That's design doing work. It's closer to the ambient lighting systems that shift color with drive mode, except it's visible from outside the car. There's something worth thinking about there.
The problem is Porsche's patent covers both applications — cosmetic personalization and functional signaling — and those are not the same product. One is a tool. The other is a mood ring.
Motor1 reported it as a curiosity, which is fair. It is a curiosity. But the more interesting piece isn't whether Porsche can make stripes disappear. It's whether the industry is quietly moving toward cars that perform commitment rather than require it. Cars that look bold when you want them to and blend in when you don't. Cars that are, essentially, always performing the right version of themselves for the moment.
That's not a Porsche problem. That's a 2025 problem.
The stripe was always a signal. The question is what it signals when you can turn it off.
Keep reading cars.

The Car You Bought Isn't Yours Anymore
Automakers keep pushing subscriptions you hate, and that's not a mistake — it's a strategy.

The Most Exclusive Club in Cars Isn't Ownership. It's Permission.
Ferrari's celebrity ban list says more about where status lives in 2025 than any horsepower figure.

The Best Defender Ever Made Wasn't Made by Land Rover
A Monarch-built LS3 Defender 110 on Bring a Trailer makes the case that some icons need a collaborator.
From the other desks.

The Watch You Didn't Win Is Still Trying to Find You
MB&F built something stranger and more honest than a waitlist — and the consolation prize tells you everything about how desire actually works.

The Best Wearable Is the One You Forget You're Wearing
Esquire just made the restraint argument for tech-on-your-face. It's more radical than it sounds.

Signal Was Never the Weak Link
A federal case just showed that the most private app in the world can't protect you from your own phone.